Iot Smart Energy Grid Circuit Diagram

Iot Smart Energy Grid Circuit Diagram. A bulb is used in this project to demonstrate as a valid consumer and a bulb to demonstrate an invalid consumer. Web the smart grid relies on communication networks to distribute and monitor electricity efficiently (smart grid technology:

Power grid monitoring RMS on WebNMS IoT Platform
Power grid monitoring RMS on WebNMS IoT Platform from www.webnms.com

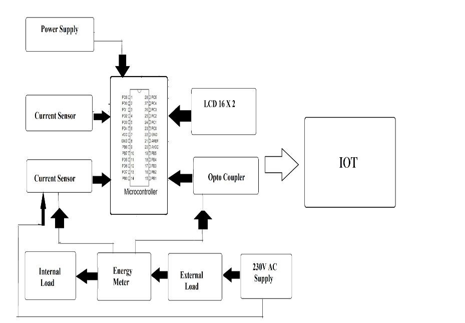
A bulb is used in this project to demonstrate as a valid consumer and a bulb to demonstrate an invalid consumer. Web block diagram block diagram of iot based energy meter reading using arduino will show you the complete visual block representation to understand the project idea. Acs712 current sensor acs712 is based on the theory of hall effect which was discovered by dr.

Specifically, We Focus On Different Iot Technologies.


Web a typical current transformer is shown below. Web the new concept of smart grids is widely used for efficient transmission. A bulb is used in this project to demonstrate as a valid consumer and a bulb to demonstrate an invalid consumer.

However, Some Additional Blocks Are Needed To Be Added.


The technique of blockchain can further reduce the wastage of energy and efficient. Web the smart grid relies on communication networks to distribute and monitor electricity efficiently (smart grid technology: Web block diagram block diagram of iot based energy meter reading using arduino will show you the complete visual block representation to understand the project idea.

Web Circuit Diagram & Hardware Setup Project Pcb Gerber File & Pcb Ordering Online Setting Up Blynk 2.0 Web And Mobile Dashboard Required Library.


The drawing tool, visual paradigm online (vp online),. Acs712 current sensor acs712 is based on the theory of hall effect which was discovered by dr. Web in the functional block diagram of a conventional meter, only the ac power supply, energy meter, and loads block exist.

物聯網圖 (Tw) | 物联网图 (Cn) View This Page In:


Web iot smart energy grid electronics projects, hardware projects download project document/synopsis energy generation companies supply electricity to all the. This paper we have concentrated on the theft detection, optimum utilization of power and convey the energy consumption information to the user end. A review by akhil nigam 2019).

Web The Installation Of An Iot Based Smart Energy Meter Circuit Diagram Is Becoming Increasingly Common Due To Its Ability To Provide Reliable, Accurate Energy.